Projects
This page showcases my projects, initiatives, and involvements in activities other than the academia.
Inspired by this idea we make an "Air mouse", to interact with systems just by moving the console in the air, but instead of using 3-dimensional coordinate references, we are only going to use 2-dimensional coordinate references so we can imitate the actions of the computer mouse since the mouse works in two dimensions X and Y.
SIFT detector basically has two inputs, one is the cropped image and the other is the image template that we previously defined and then it gives us some matches, so matches are basically the number of objects or key points which are similar in the cropped image and the target image. Then we define a threshold value for the matches, if the match's value is greater than the threshold, we put an image found on our screen with the green color of ROI rectangle.

Patent
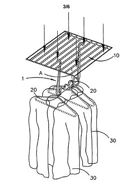
I was one of the inventors of a published patent application with the Indian patent office titled ‘Automatic cloth stand and its mechanism’, “IN201711017090A”, May 16, 2017. This patent application relates to an automatic cloth stand mechanism that provides reflex actions in response to the information provided by the components on the stand like sensors, controller, and a Wi-Fi module. The main motive to develop this technology is to eliminate efforts and save time.

Review Article
I Worked on a 5G communication technology during an internship and reviewed an article based on the same, August 3, 2018. This review article explores the possibility of full-duplexity in 5G communication. The main idea was to look above the traditional ferrite-based devices such as circulators, which are quite bulky, heavy, and cannot fit in mobile applications. It suggests a novel approach for it with the help of commutated capacitors and clocking circuits on CMOS-based chips to time the circuit so the reciprocity could be broken.


